GIỚI THIỆU
Kiểm tra hạt từ là phương pháp rất nhạy với những khuyết tật như:
• Nứt
• Rỗ khí
• Ngậm xỉ
• Những khuyết tật khác trong vật liệu và mối hàn có thể từ hoá được
.png)
Hình 1: Nứt do xâm thực Hydro
Một thanh nam châm có thể mô phỏng phương pháp này, khi một lượng nhỏ hạt từ được đặt gần thanh nam châm thì chúng bị hút về phía hai điểm cuối của thanh nam châm gọi là các cực (cực nam và cực bắc).
.png)
Hình 2: Từ trường của nam châm
Nếu nam châm bị nứt gãy. Các đường sức từ truyền qua không khí, tạo ra các cực bắc và nam mới ở mỗi bên của rãnh. Các hạt từ tính sẽ bị hút về các cực mới.
Khi một bộ phận đang được kiểm tra bị nhiễm từ, bộ phận đó sẽ hoạt động giống như một nam châm. Từ hóa được thực hiện bằng cách cho dòng điện chạy qua nó hoặc bằng cách đặt nó trong một từ trường mạnh.
.png)
Hình 3: Từ trường rò trên bề mặt bất liên tục.
Bất liên tục bề mặt và nông dưới bề mặt sẽ hút và giữ hạt từ quanh bất liên tục. Hạt từ được chứa vào bình phun, túi, súng phun tùy thuộc vào việc sử dụng dạng hạt từ ướt hay khô. Hạt từ dạng khô được áp vào vật liệu kiểm tra chỉ khi nào bề mặt vật liệu được vệ sinh sạch các chất bẩn.
HẠT TỪ ƯỚT CHO CÁC BẤT LIÊN TỤC BỀ MẶT
Sử dụng hạt từ ướt cho độ nhạy tốt hơn với các vết nứt bề mặt mịn bởi vì kích thướt hạt từ ướt rất nhỏ.
HẠT TỪ KHÔ CHO CÁC BẤT LIÊN TỤC DƯỚI BỀ MẶT
Bột từ dạng khô cho độ nhạy tốt đối với các khuyết tật nằm bên dưới bề mặt.
.png)
Hình 4: Dry particle buildup at leakage field
Phương pháp thử nghiệm này rất nhạy với bất liên tục mở ra trên bề mặt và trở nên kém nhạy khi các khuyết tật có độ sâu lớn hơn. Phương pháp này nhạy với bất liên tục có sâu lên tới một phần tư inch bên dưới bề mặt.
.png)
Hình 5: Một số loại chỉ thị
Hai loại từ trường được sử dụng là từ hóa vòng và từ hóa dọc. Kích thước và hình dạng của mối hàn được kiểm tra xác định loại được sử dụng.
Từ hóa vòng sẽ truyền một dòng điện tròn để tạo ra từ trường, từ trường được tạo ra trong đó có thể đặt một ống hình trụ. Từ hóa vòng được cung cấp bằng cách sử dụng một bộ prods. Đi dọc theo mối hàn, Prods phủ được toàn bộ từ trường xung quanh. Cần hết sức thận trọng để đảm bảo rằng không xảy ra phóng điện hồ quang giữa bề mặt thử nghiệm và các chân prod.
.png)
Hình 6: Headshot tạo từ trường vòng trên vật kiểm tra
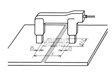
Từ hóa dọc truyền một dòng điện xung quanh vật kiểm để tạo ra một trường xuyên qua nơi kiểm. Từ hóa dọc có thể được áp dụng bởi một cuộn dây, một cuộn dây quấn hoặc một cái gông từ.
.png)
Hình 7: Gông từ tạo từ trường dọc trên mẫu tấm
Gông từ được sử dụng rộng rãi. Đây cũng là cách an toàn nhất vì không có dòng điện nào tiếp xúc với bề mặt thử nghiệm giúp loại phóng điện trên bề mặt.
Kiểm tra hạt từ tính sử dụng các đặc tính khác nhau của dòng điện xoay chiều (AC) và dòng điện một chiều (DC). Tính khả dụng của thiết bị và mức độ nhạy cần thiết xác định loại dòng điện được chọn.
Dòng điện xoay chiều cung cấp độ nhạy thấp nhất và chỉ từ hóa bề mặt của mẫu thay vì toàn bộ độ dày của bộ phận. Do đó, nó nên được giới hạn trong việc định vị các điểm bất liên tục trên bề mặt.
Dòng điện một chiều xuyên suốt chiều dày của mẫu thử. Nó nhạy hơn trong hai dòng điện và được khuyến nghị sử dụng cho các mối hàn khi phát hiện bất liên tục dưới bề mặt. Việc đánh giá bằng hình ảnh được thực hiện trên tất cả các dấu hiệu được biểu thị bằng các hạt từ tích tụ trên bề mặt.
Người kiểm tra đánh giá hình dạng, độ sắc nét, chiều rộng và chiều cao của hạt từ để xác định loại không liên tục hoặc khuyết tật.
.png)
Hình 8: Dòng AC và DC
ĐÁNH GIÁ KẾT QUẢ KIỂM TRA
Cần xem xét nhiều yếu tố để đưa ra phán đoán chính xác. Đánh giá cẩn thận bởi một thử nghiệm viên được đào tạo là rất quan trọng. Các quyết định nên dựa trên các yêu cầu được chỉ định thông qua các thông số kỹ thuật, quy trình hoặc code áp dụng. Thử nghiệm không phá hủy, kiểm tra lại bằng phương pháp siêu âm hoặc chụp X quang có thể được yêu cầu nếu khuyết tật đó đáng ngờ.
.png)
Hình 9: Vết nứt khi kiểm tra bằng hạt từ huỳnh quang
BÁO CÁO SAU ĐÁNH GIÁ
Một bản ghi ngắn gọn về các kết quả kiểm tra nên được thực hiện sau khi tất cả các kiểm tra đã được hoàn thành. Ghi lại rõ ràng các số liệu về kích thước khuyết tật tìm được. Các chỉ thị phát hiện sẽ được chuyển sang biểu mẫu báo cáo thử nghiệm. Một bức ảnh của bề mặt được thử nghiệm cũng có thể được chụp và đính kèm với báo cáo cuối cùng.
LÀM SẠCH BỀ MẶT KIỂM TRA
Việc khử từ một vật kiểm là cần thiết sau khi hoàn thành tất cả các báo cáo và kiểm tra trực quan đã được thực hiện. Một số thành phần còn từ tính có thể gây lớp gỉ để hút phoi kim loại, gây mài mòn quá mức trong quá trình vận hành bảo dưỡng. Nó cũng có thể gây khó khăn cho việc đánh giá chất lượng mối hàn.
KẾT LUẬN
Hãy nhớ rằng việc áp dụng đúng quy trình kiểm tra này dựa trên việc có nhân viên đủ trình độ để thực hiện các quy trình kiểm tra và cẩn thận làm theo các bước đã thảo luận trước đó.
Công ty Cổ phần AITECH
THE RELIABILITY OF NON-DESTRUCTIVE TESTING
TRỤ SỞ CHÍNH: 119/27 Bùi Quang Là, Phường An Hội Tây, Tp. Hồ Chí Minh.
CHI NHÁNH: Số 23, Đường 27, Khu đô thị Vạn Phúc, Phường Hiệp Bình, Tp. Hồ Chí Minh.
Số điện thoại: (+84)98 139 8185 - 090 886 4479
Email:maianhtai@ndt.com.vn